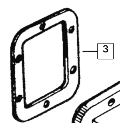
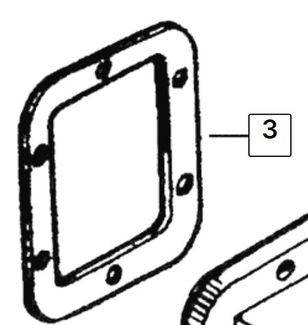
- Категория: 42. Коробка отбора мощности
- Артикул: 5511-4202018
Ширина, м 0.15
Высота, м 0.05
Длина, м 0.15
Вес, кг 1.15
Вас также заинтересует
Все заявки, обработанные до 12−00 текущего дня доставляются до 21−00.
Заявки после 12−00 доставляются на следующий день.
Оплата производится только безналичным расчетом, на счет компании после выставления счет фактуры и заключения договора поставки.
Доставка товара осуществляется только от суммы 300 белорусских рублей по городу Минску и Минскому району бесплатно
Работаем только с Юридическими лицами!
Выписка и получение товара после оплаты осуществляется по адресу г. Минск, ул. Меньковский тракт 14. За авторынком Малиновка.